Mieszkający w Kijowie artysta pracuje w obszarze malarstwa, grafiki i instalacji, działający także w ramach interdyscyplinarnych projektów z architektami, socjologami czy aktywistami.
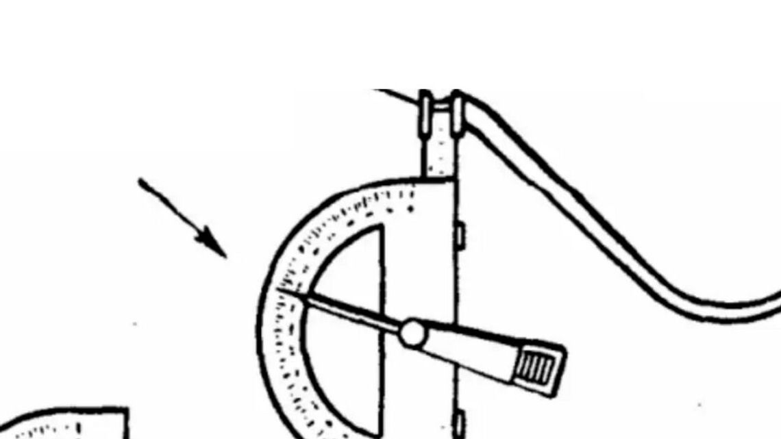
Jego flaga nosi tytuł "Ludzkie narzędzia". Przedstawia schematyczny obraz przyrządów do kraniometrii (techniki pomiaru czaszki) z medycznego podręcznika pochodzącego z pierwszej połowy ХХ wieku.
Praca będzie dostępna do 10 grudnia.
Nowy Złoty Ceremoniał: flaga Nikity Kadana zawiśnie przed Galerią Labirynt
W ramach projektu Nowy Złoty Ceremoniał Galeria Labirynt (ul. Popiełuszki 5) zaprosi na prezentację kolejnej flagi. 15 listopada na dachu kiosku OSA zawiśnie praca Nikity Kadana.
- 11.11.2021 18:51

Reklama













Komentarze